MediaTech
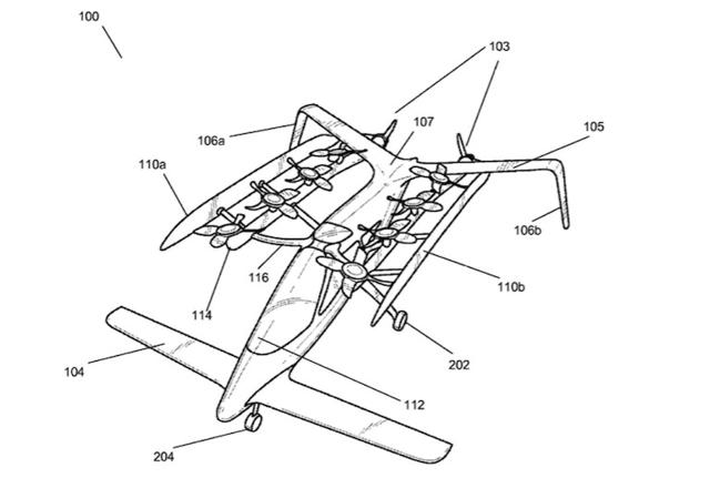
L'ultima idea di Larry Page (Alphabet) è una macchina volante

Larry Page, ceo di Alphabet, ha fondato in segreto Zero.Aero per sviluppare una macchina volante. Avrebbe già investito 100 milioni di euro
L'ultima idea di Google è una macchina volante. Più precisamente, l'idea è di Larry Page, co-fondatore e ceo di Alphabet. In gran segreto, Page avrebbe fondato una startup chiamata Zee.Aero, nella quale avrebbe già investito 100 milioni di euro. Lo riporta Bloomberg.
La società non è controllata né partecipata da Googlo o Alphabet ma direttamente da Page, che sarebbe riuscito a tenere nascosto il progetto fin dalla sua nascita, datata 2010. E così, un altro big del tech investe in proprio per realizzare un utilizzo diffuso e personale dei cieli. E se Jeff Bezos ed Elon Musk si sono concentrati sui viaggi spaziali, Page resta sulla Terra.
Anche se si tratta di un progetto personale, è indubbio che un eventuale successo rientri sotto l'ampio ombrello di Google. Lo conferma anche il fatto che il presidente di Zee.Aero sarebbe Sebastian Thrun, padrino dell'auto di Big G che si guida da sola e fondatore di Google X, la divisione più visionaria di Mountain View.
